8 (925) 663-83-63Call-центр
пн-вс: 10:00-19:00
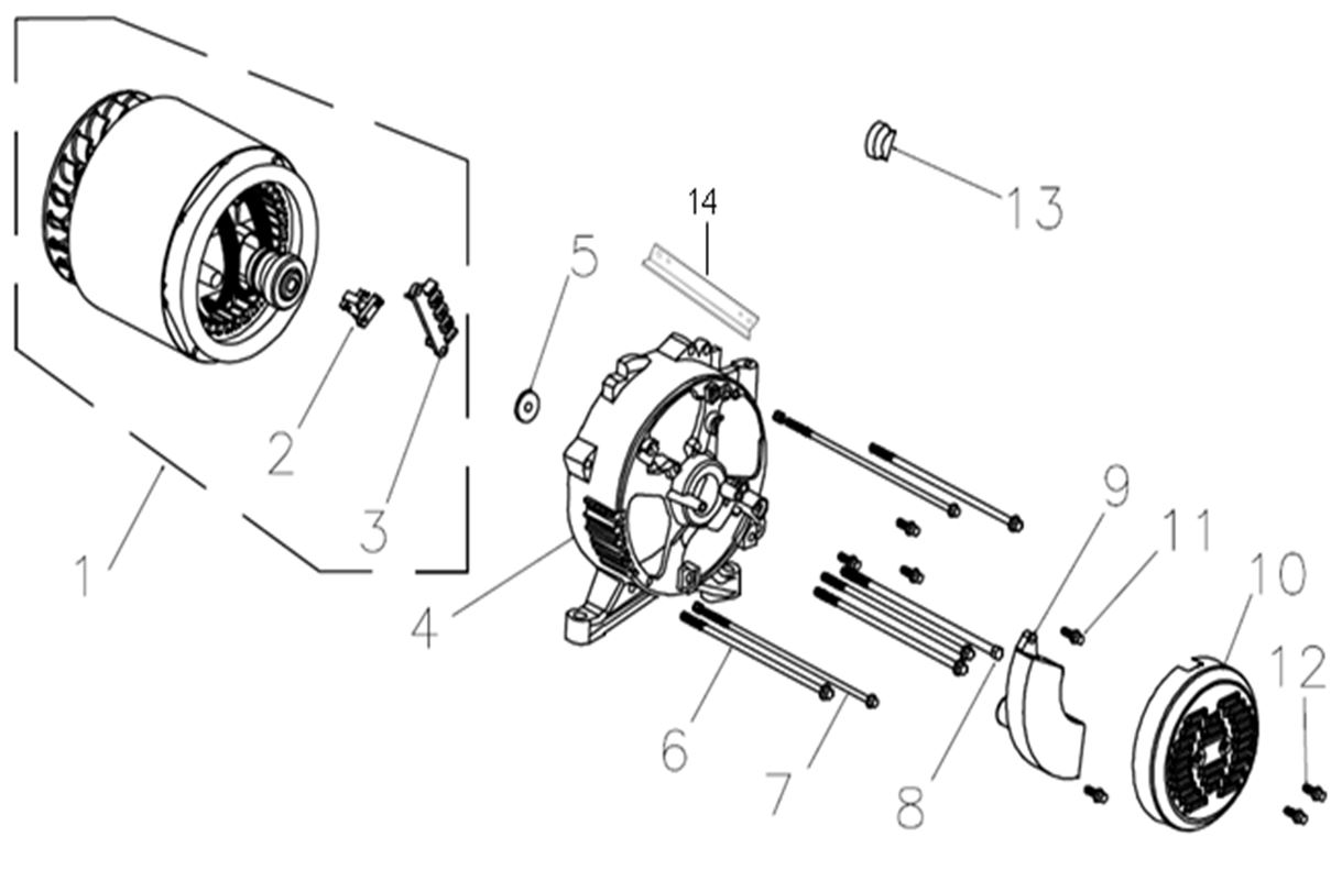
| N | Артикул | Название | Срок отгрузки | Цена | Купить |
| 1 | 0101.315270 | Альтернатор в сб. 220В, 5кВт, 2 кол(4+2)+2 пров. Статор D190, L110. БЭС 6500ЕАМ.ЕМК | 25.343 р. | ||
| 2 | 0104.044800 | Щетка угольная | – | ||
| 3 | 0104.044900 | Колодка клеммная | – | ||
| 4 | 0104.045500 | Рама задняя | – | ||
| 5 | 0104.029300 | Шайба уплотнительная 12х20х2 мм | – | ||
| 6 | 0104.025700 | Болт фланцевый M6х150 мм | – | ||
| 7 | 0101.315280 | Болт фланцевый M5х184 мм | – | ||
| 8 | 0101.315290 | Болт фланцевый M10х235 мм | – | ||
| 9 | 0101.188800 | АВР 2.5-5 кВт. 660150091. БЭС3800.5000.6500Р.Е (СМ 0104.046001 0104.099400 0104.046000) | 1.882 р. | ||
| 10 | 0101.315300 | Крышка задняя | – | ||
| 11 | 0104.045800 | Болт фланцевый M5х16 мм | – | ||
| 12 | 0101.052800 | Болт фланцевый M5х12 мм | – | ||
| 13 | 0104.044500 | Ограничитель | – | ||
| 13 | 0101.178200 | Ограничитель | – | ||
| 13 | 0101.086300 | Стопор двигателя | 10 р. | ||
| 14 | 0101.313060 | Планка монтажная | – |
| Найдено товаров: 16 |
|
8 (925) 663-83-63 Call-центр
пн-вс: 10:00-19:00
| Введите номер заказа |
| Введите номер своего заказа, что бы узнать его текущий статус. Что бы получить доступ к расширенным функциям, пройдите не сложную регистрацию. Зарегистрироваться |